DISPOZITIV PENTRU TRANSFORMAREA UNEI FERESTRE DE AUTOVEHICUL ÎN COMPUTER PERSONAL
Price not visible for this package
Assignment
No.: RO137763
Date: 29.11.2023
POP ALEXANDRU-CLAUDIU [RO]
Description:
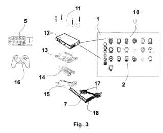
Invenţia se referă la un dispozitiv care poate transforma orice tip de fereastră a unui autovehicul în computer personal. Dispozitivul conform invenţiei este alcătuit din următoarele componente: o unitate (13) centrală prevăzută cu o serie de computere pe o singură placă, un procesor, posibilităţi de comunicare Wi-Fi, Bluetooth, cinci porturi USB, memorie RAM, card de memorie şi diverse mufe, cum ar fi mufă RJ45, mufe mini HDMI, mufă de alimentare, mufă audio, un videoproiector (12) cu luminozitate minimă de 5000 de lumeni, cu funcţie de corectare keystone, cu ajustarea focalizării, conectat la unitatea (13) centrală prin intermediul uneia dintre mufele HDMI, o baterie (14) externă prevăzută cu minim două porturi USB, un suport (7) prevăzut cu braţe (18) reglabile pe trei dimensiuni şicleme (17) de prindere, o carcasă (15) inferioară şi o carcasă (11) superioară, realizate din material plastic uşor, un fim (10) optic transparent cu transmitanţă de minimum 92%, unghi de vedere minim de 150°, cu grosime de maximum 100 μm, prevăzut cu un strat de autoadeziv transparent, pentru a fi aplicat pe fereastra unui autovehicul.
